Generators EX EX2200 EX2200 A EA2-1000001-9999999 ROTOR@STATOR - Warren's Honda

Ref No
Part Number
Description
Serial Range
Qty
Price

Ref No
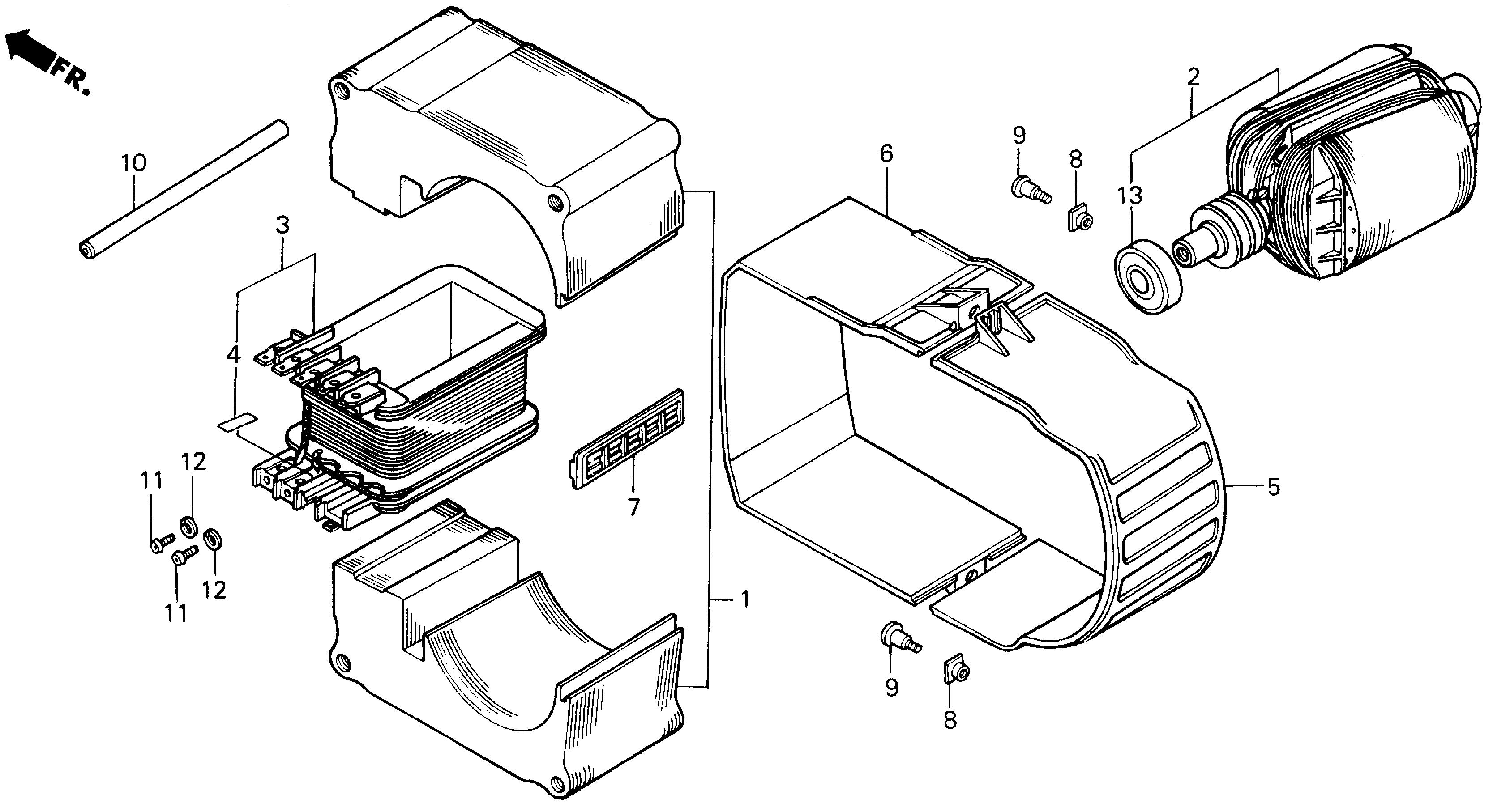
1
Part Number
311A3-ZB3-000
Description
CORE SET, STATOR (NOT AVAILABLE)
Serial Range
1000001 - 9999999

Ref No
2
Part Number
31130-ZS2-H62
Description
ROTOR (EZ-R)
Serial Range
1000001 - 9999999
Qty
Price
$405.06

Ref No
3
Part Number
31150-ZB3-630
Description
BOBBIN, STATOR COIL
Serial Range
1000001 - 1007230

Ref No
3
Part Number
31150-ZB3-631
Description
BOBBIN, STATOR COIL (NOT AVAILABLE)
Serial Range
1007231 - 9999999

Ref No
4
Part Number
31154-ZA5-830
Description
MARK, WIRE COLOR
Serial Range
1007231 - 9999999
Qty
Price
$21.18

Ref No
5
Part Number
31181-ZB3-000
Description
COVER, R. STATOR (NOT AVAILABLE)
Serial Range
1000001 - 9999999

Ref No
6
Part Number
31182-ZB3-000
Description
COVER, L. STATOR
Serial Range
1000001 - 9999999

Ref No
7
Part Number
31184-ZB3-000
Description
STIFFENER, STATOR (NOT AVAILABLE)
Serial Range
1000001 - 9999999

Ref No
8
Part Number
90016-ZA5-000
Description
NUT, SPECIAL (5MM)
Serial Range
1000001 - 9999999
Qty
Price
$25.10

Ref No
9
Part Number
90018-ZA5-000
Description
BOLT, STATOR COVER SETTING
Serial Range
1000001 - 9999999
Qty
Price
$22.24

Ref No
10
Part Number
90701-ZB3-000
Description
PIN, DOWEL (11X121)
Serial Range
1000001 - 9999999
Qty
Price
$47.34

Ref No
11
Part Number
93500-05008-3J
Description
SCREW, PAN (5X8)
Serial Range
1000001 - 9999999
Qty
Price
$21.14

Ref No
12
Part Number
94111-05800
Description
WASHER, SPRING (5MM)
Serial Range
1000001 - 9999999
Qty
Price
$21.38

Ref No
13
Part Number
91051-ZB3-003
Description
BEARING ASSY. (6203)
Serial Range
1008586 - 9999999
Qty
Price
$42.06

Ref No
13
Part Number
96150-62030-10
Description
BEARING, RADIAL BALL (6203UU)
Serial Range
1000001 - 1008585
Qty
Price
$41.28